دستهبندی: نیمه هادی ها Semiconductors


ZENER 24V 500MW
ZENER 24V 500MW
ندارد - کالای اصل 🏅
توضیحات
نام قطعه: ZENER 24V-500MW
نام کارخانهای: BZX55C24
تعداد در بسته: 5000 عدد
برند: Semtech Electronics
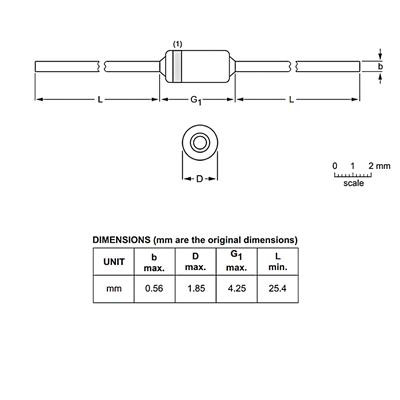
پکیج: DO-204AH (DO-35)
بستهبندی: Tape & Box
حداقل: 5 عدد
عنوان گروه: Zener Diodes
دیتاشیت: ZENER 24V-500MW
توضیحات: 24V 500mWدیود زینر Silicon Epitaxial Planar Zener Diodes , 24V , 500mW Do-35
نقد و بررسی
ولتاژ زینر 24 ولت
دقت 5 درصد
اتلاف قدرت 500 میلی وات
نوع نصب روی برد Through Hole
برند Semtech Electronics
پکیج DO-204AH (DO-35)
Zener Voltage (Vz) 24 V
Tolerance 5 %
Power Dissipation 500 mW
Mounting Style Through Hole
Brand Semtech Electronics
Package DO-204AH (DO-35)
نظرات
دستهبندی: نیمه هادی ها Semiconductors